Механізм голки
Рух
голки визначає схему взаємодії робочих інструментів і утворення структури
переплетення і утворення стібка.
Голка
може виконувати наступні рухи:
-
вертикальні
зворотно-поступальні, (переважна більшість машин човникового переплетення,
машини одно- і 2-х ниткового ланцюгового стібка);
-
в
вертикальній площині під кутом (два і трьох ниткові зшивально-обметувальні
машини типу „Оверлок”);
-
горизонтальні
зворотно-поступальні рухи (скорняжні машини, стібок однонитковий ланцюговий
краєобметувальний),
-
коливне
по дузі вздовж і поперек строчки, а також під кутом до неї (машини потайного
стібка для стьобаних і підшивочних робіт),
-
вертикальні
зворотно-поступальні і коливні по горизонталі в площині паралельно і
перпендикулярно головному валу (машини зиг-заг строчки і машини з коливними
голками для безпосадочної строчки) тощо.
У швейних машинах для здійснення необхідного руху голки використовують (рис.1): кривошипно-повзунний (кривошипно-шатунний) механізм, механізм з відхиляючою рамкою, кулачкові і кулісні механізми тощо.

Найбільш поширений в швейних машинах кривошипно-шатунний механізм (рис.2).

Такі
механізми: прості по конструкції для більшості випадків забезпечують необхідний
закон руху голки, стійко працюють в різних режимах.
В
практиці швейного машинобудування такі механізми зустрічаються в трьох
варіантах: аксіальний (центр обертання кривошипа співпадає з лінією руху
повзуна); дезаксіальний - не співпадає; з шатуном, який розміщений зверху
головного валу.
Основними
параметрами кривошипно-шатунного механізму є радіус кривошипа і довжина шатуна.
Відношення

Рис.3 Структурна схема кривошипно-шатунного механізму голки
Механізм
голки та ниткопритягача
1- головний
вал
2 – махове
колесо
3 –
шарикопідшипники
4 –
кривошип
5 – палець
кривошипа
6 –
шатун
7 – палець
повідка
8 –
гвинт
9 –
повзун
10 – пази
направляючої
11 -
голковід
12 -
втулки
13 –
гвинт
14 –
голка
15 – важіль
ниткопритягача
16 – палець
ланки
17 – шарнірний
палець
18 –
гвинт
19 – вушко ниткопритягача
Будова
кривошипно-шатунного механізму голки.
Головний вал 1 обертається у трьох шарикопідшипниках 3 . На
правому кінці головного валу 1 двома гвинтами кріпиться махове колесо 2. На
лівому кінці головного валу 1 гвинтом кріпиться кривошип 4. В його отвір
закріплений двома гвинтами палець кривошипа 5. На зовнішнє плече пальця
кривошипа 5 надіта верхня головка шатуна 6, в яку закріплений голковий
підшипник. Нижня головка шатуна 6 одягнута на палець повідка 7, в якому гвинтом
8 закріплений голковід 11. На праву частину пальця повідка 7 одягнутий повзун 9,
який рухається у пазах направляючої 10. Направляюча закріплена до корпусу машини
чотирма гвинтами. Голковід 11 рухається у двох втулках 12. Голка 14 кріпиться в
паз голководу 11 за допомогою гвинта 13.
Принцип
роботи механізму голки
в машині (рис.4).
Махове колесо, головний вал 2, кривошип 3 та палець кривошипа 4
жорстко з’єднані між собою і виконують один вид руху –
обертовий.
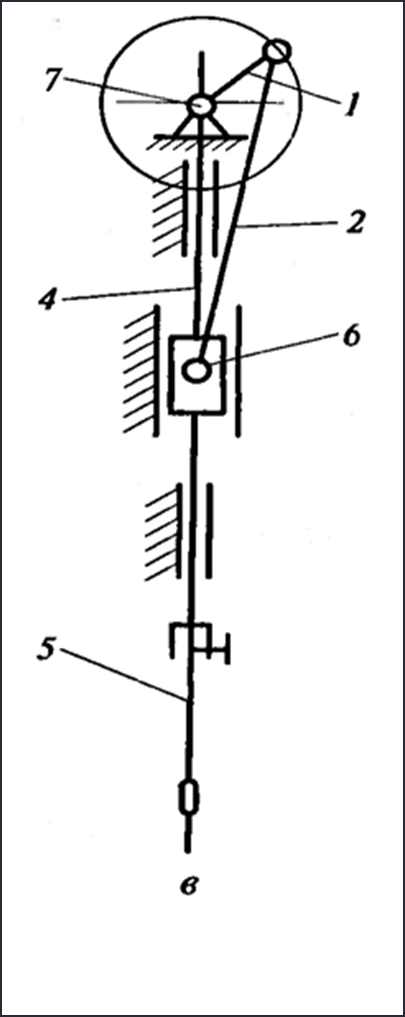
Головки шатуна з’єднані не жорстко з пальцем кривошипа 1 та пальцем повідка 6, які мають різні траєкторії руху в різних площинах. Внаслідок цього шатун 2 є основним елементом в процесі перетворення руху з одного виду в інший. Оскільки поводок 6 та повзун з’єднані пальцем, на який одягнена нижня головка шатуна 2, виконують зворотно-поступальний рух у вертикальній площині, то будь-яка деталь, з’єднана з повідком,теж виконуватиме такий самий зворотно-поступальний прямолінійний рух. У даному разі такою деталлю є голковід 4, у голковід закріплюють голку 5, яка має потрібну траекторію руху.

Рис.4 Площинна схема кривошипно-шаннуного механізму голки
В швейному машинобудуванні широко використовують чотирьохланковий кривошипно-коромисловий механізм з двома кульковими і двома циліндричними парами.
Онлайн-вправа для закріплення матеріалу теми
https://learningapps.org/display?v=p4ib7ad3a19
Тест для самоконтролю
"Продовжіть речення"
голка
ниткопритягач
лапка
рівномірно-обертові
зворотноьо-поступальні
обертові
шарікопідшипниках
голкових підшипниках
опорах
шатун
шарнірний палець
махове колесо
човник
кривошип
шатун
втулка
кривошип
човник
голковід
палець кривошипа
палець ланки
голковід
повзун
шатун
шарнірний палець
втулка
повзун
гвинтах
втулках
шатунах
човник
лапка
рейка