Основні транспортери текстильних матеріалів
Робочими
інструментами існуючих механізмів транспортування є рейка зубчата, рифлені
ролики і каретка (касета, як різновид каретки в машинах напівавтоматичної і
автоматичної дії).
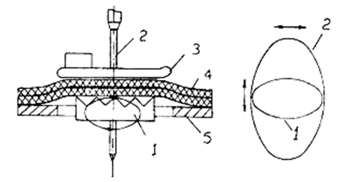
Траєкторія рейки механізму подачі матеріалу складається з вертикальних і горизонтальних рухів і являє собою складну шатунну криву еліпсоподібної форми з великим радіусом кривизни (рис. 1).

Види зубчатих рейок відрізняються один від одного в залежності від призначення
швейних машин. Оптимальна рейка – рейка з трьома рядами зубців
(рис.2)
Середній ряд зубців має розрив. Наявність вікна дає можливість проводити
утягування стібка ниткопритягувачем ще в процесі переміщення матеріалів
рейкою.


Рис.2 Схема зубчатої рейки
Схеми основних рейкових транспортерів текстильних матеріалів
1.
Нижній одинарний рейковий механізм(рис. 3)
Забезпечує
переміщення матеріалу без утворення складок при затягуванні
стібків.


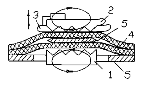
Рис. 3 Схема роботи нижнього одинарного механізму переміщення тканини: 1 – рейка зубчата; 2 – голкова пластина; 3 – прорізь голкової пластини; 4-6 – текстильні матеріали; 5 – притискна лапка; а – піднімання рейки; б – рух рейки вперед; в - рух рейки вниз; г – рух рейки в вихідне положення.
Однак, такий механізм викликає необхідність контролювати переміщення матеріалів під голкою, інакше матеріал самовільно розвертається вліво відносно голки. По-друге, при переміщенні матеріалу, який складений в два і більше шарів, рейка зубцями фактично захоплює тільки один нижній шар. В результаті, хоча і матеріали зшиті між собою попередніми стібками, нижній їх шар переміщується на більшу величину, ніж верхній. Має місце „приспосаджування” матеріалів або „посадка”. В загальному „посадка” матеріалів – відносне зміщення (проковзування) матеріалів в процесі їх переміщення рейкою.
2.
Переміщення матеріалу відхиляючою голкою і рейковим
транспортером.
Використовується для синтетичних і натуральних матеріалів. Усунення
„посадки” матеріалів досягається тим, що в процесі подачі матеріалу приймає
участь як рейка, так і голка 2. На рис. 4 показана схема механізму і траєкторія
руху рейки і голки.

Рис. 4. Комбінована подача матеріалу: 1 – рейка; 2 – голка; 3 – рейка; 4 – матеріал.
3.
Нижній диференційний механізм переміщення матеріалу.
Переміщення здійснюється двома рейками 1,2 (рис. 5)

Рис. 5. Диференційний механізм: 1- основна рейка; 2 – диференційна рейка.
Використовується для виготовлення виробів з матеріалів середньої товщини,
що містять синтетичні волокна, а також з трикотажних
волокон.
При зшиванні тканин, що містять синтетичні нитки, наприклад, лавсан,
з’являється як посадка нижньої тканин, так і стягування верхнього і нижнього
шарів. В цьому випадку на ділянці між рейками необхідно розтягувати тканини, що
досягається подачею тканин основою рейкою 1 на більшу довжину між диференційною
зубчатою рейкою 2.
При
зшиванні еластичних матеріалів, наприклад, трикотажного полотна, можлива
зворотна задача.
4. Схема роботи механізму з нижньою і верхньою рейками (рис. 6)

Рис. 6. Нижня і верхня зубчаті рейки: 1 – нижня рейка; 2 – верхня рейка; 3 – лапка притискна.
Використовується при пошитті виробів з матеріалів, що важко
транспортуються. Транспортування здійснюються одночасно рейками нижньою 1 і
верхньою 2, якому допомагає притискна лапка.
Механізм
транспортера з посадкою нижнього шару тканини.

Рис. 7 Транспортер з посадкою нижнього шару тканини: 1 – нижня рейка; 2 –; верхня рейка; 3 – притискна лапка; 4 – матеріали; 5 – розділова пластина; 6 – голкова пластина.
Такий механізм використовується в швейних машинах для пошиття одягу
костюмної і пальтової групи з посадкою нижнього матеріалу
4.
Нижня рейка 1 подає матеріал 4 на довжину стібка, верхня рейка також
подає верхній матеріал на довжину стібка, що може регулюватися в широких межах в
процесі шиття.
Коли рейки подають матеріал притискна лапка 3 піднімається і опускається
одразу після того, як рейки припиняють подавати матеріал.
Для зменшення коефіцієнта тертя між матеріалами заведена металева пластина 5.
Схема
і аналіз переміщення матеріалів рифленими роликами
Механізми транспортуючих рифлених роликів характерні для швейних машин,
які використовують для пошиття виробів з шкіри, шкірозамінників, хутра, ватних
настилів. жорстких і важких матеріалів.
Поширені механізми транспортера з позивним колесом 1 (рис. 8, б) рейки з притискним роликом (рис. 8, а) з двома рифленими роликами, які розташовані в горизонтальній поверхні (рис. 8, в).



Рис. 8. Механізми
транспортування матеріалів рифленими роликами
Для
таких механізмів характерні недоліки.
Матеріал в точці, проколу не притиснутий і при зшиванні м’яких матеріалів разом з голкою піднімається тканина. Утворення петлі-напуску у вушку голки погіршується.
Якість
пошиву виробів, продуктивність машини, трудоємкість і експлуатаційні витрати, в
переважній більшості, залежать від механізмів, які подають (переміщують) вироби
в процесі їх обробки. В швейних машинах використовують, в основному, три типи
механізмів транспортування тканини: зубчата рейка, рифлені ролики і
каретка.
Транспортування рейкою здійснюється за рахунок сил щеплення зубців рейки
з матеріалом і притискування матеріалу верхньою підпружиненою лапкою. В швейних
машинах використовується одинарна і подвійна зубчаті
рейки.
Одинарна рейка може працювати з простою лапкою і лапкою, яка рухається з
відхиляючою голкою, рифленим роликом Подвійна рейка складається з двох зубчатих
рейок, які мають окремі механізми. Рейки можуть розташовуватися як по один бік,
так і з двох боків.
Механізм переміщення має складну багатоланкову систему, у яких, для
піднімання рейки, використовується куліса, з’єднувальна ланка, трьохцентровий
кулачок. Для регулювання кроку стібка використовують такі способи: змінюють
довжину веденої і ведучої ланки, змінюють кут між відповідними ланками тощо.
Слід звертати увагу на силове навантаження на рейковий
механізм.