Відомості про будову швейної машини
Для розуміння функцій машини і всіх її механізмів вводиться поняття “модель швейної машини”. Розглядаючи “модель” слід розуміти складові ідеальної, а не конкретної швейної машини.
З історії швейної машини (Матеріал з вікіпедії - вільної енциклопедії. Перейдіть за посиланням)
Будь-яка
швейна машина складається з механізмів і вузлів. Послідовність їх роботи, у
відповідності циклограми, забезпечує виконання технологічного
процесу.
Узагальнена
модель може включати:
-
промисловий стіл;
-
головку швейної машини;
-
привод і передаточні механізми системи;
-
електрообладнання і відповідну систему програмування і
керування;
-
пристрої для намотування нитки на шпулю, натягу ниток, змащування, реверсування
матеріалів, які зшиваються;
-
систему нитконаправлячів і катушечну стійку;
-
допоміжні пристрої.
Промислова швейна машина (рис.1) складається із головки машини 1, промислового стола 2, індивідуального приводу 3. У машині може бути пристрій для намотування нижньої нитки на шпулю.

Рис. 1 Загальна будова швейної машини
Головка швейної машини (рис.2,3) має фронтальну частину 1, платформу 5, стійку рукава 4, махове колесо 3 для передачі обертового руху від електроприводу до головного валу, рукав 2.

Рис. 2 Будова головки швейної машини (схема)

Рис.3 Будова головки швейної машини
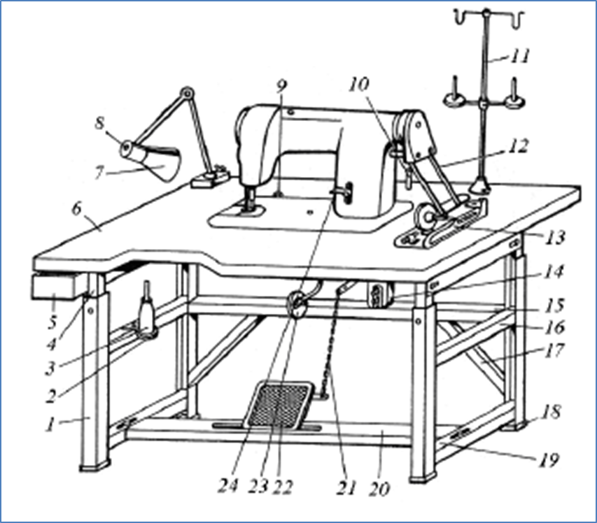
Промисловий стіл (рис.4) складається із кришки 6 з прорізом для головки швейної машини і двох стійок 1, скріплених між собою боковими 16 і 19 та поздовжніми поперечками 20 і 15. Для підвищення жорсткості стійки 1 з поперечкою 15 з’єднані за допомогою двох підкосів 17. У стійках 1 за допомогою болтів закріплені траверси 4, а до них прикріплена кришка 6. Таке з’єднання дозволяє регулювати положення кришки 6 по вертикалі. На кришці 6 закріплений світильник 7 для місцевого освітлення, який має вимикач 5.

Головка
швейної машини встановлена в прорізі кришки 6 на двох шарнірних петлях 9, що
дозволяє за потреби (у неробочому положенні) обіперти головку рукавом на
дерев’яний упор 10. На кришці 6 праворуч від клинового паса 12 закріплений
автоматичний пристрій 13 для намотування ниток на шпульку й стійка 11 для
встановлення бобіни. Ліворуч під кришкою 6 у двох напрямних встановлюється ящик
5 для зберігання бобін, викруток й інших приладь для роботи на швейній машині.
Під
кришкою 6 у двох кронштейнах змонтовано вал важіля 23 для підйому притискної
лапки коліном правої ноги. На поперечці 20 у двох кронштейнах встановлена педаль
22, яка з’єднується за допомогою ланцюга 21 або шатуна з коромислом фрикційного
приводу електродвигуна, закріпленого під кришкою 6 промстола. Знизу до кришки 6
прикріплений перемикач 14 для вмикання й вимикання електродвигуна швейної
машини. На поперечці 16 закріплений тримач 2 масельнички 3. Знизу на стійки 1
надіті гумові прокладки 18, що ізолюють промисловий стіл. Заземлення корпуса електродвигуна здійснюється за
допомогою його підключення до джерела живлення, яке має нульовий провід.
В
переважній більшості швейних машин в фронтовій частині розташовані механізм
голки та притискної лапки. В рукаві машини знаходиться верхній вал (головний
вал). В вертикальній стійці розміщені передаючі механізми від верхнього до
нижніх валів. Під платформою розташовуються механізм човника (або петельника) та
механізм переміщення тканини. В машинах ланцюгового переплетення головний вал в
переважній більшості розташовується під платформою.
Елементи
ниткоподачі верхньої і нижньої нитки (ниткопритягувач, ниткоподавач, регулятора
натягу нитки, нитконаправлячі тощо) розташовуються як на поверхні або всередині,
так і під платформою.
Система
змащування розташовується в місцях, які забезпечують змащування одночасно
декількох пар тертя.
Структура
механізмів головки (корпусу) швейної машини має три групи
механізмів:
-
механізми,
робочі інструменти, які зшивають (голка, човник, ниткопритягувач, переміщення
матеріалів тощо);
- механізми,
робочі інструменти, які забезпечують виконання допоміжних операцій та сприяють
виконанню основної технологічної операції (обрізання ниток, розпрасування шва,
тощо).
- механізми, за допомогою яких виконується керування механізмами, що зшивають (машини-напівавтомати).