Види петельникових механізмів
Для
передачі обертових рухів використовують конічні зубчаті шестерні з передаточними
відношенням U
=1:1.
Широко
використовують для рухів петельників просторові чотирьохланкові механізми з
обертовими і шаровими парами.
Кінематична
схема механізму обертового петельника.
В таких машинах механізм петельника встановлений взамін механізму човника (рис.1). Петельник закріплений двома гвинтами на валу, який рухається у втулках. Від головного валу оберт передається конічними косо зубчатими передачами.

Кінематична схема механізмів петельників з коливним рухом в одній площині (51-Акл.)
Механізм петельників має єдину ведучу ланку для передачі руху лівому і правому петельнику (рис.2). На лівому кінці головного валу закріплений кривошип з шаровим пальцем, на якому розміщена верхня головка шатуна. Нижня роз'ємна головка шатуна встановлена на шаровому пальці, який гвинтом закріплений в трьох плечовому важелі, що коливається на вісі, що закріплена гвинтом у корпусі машини. На верхньому плечі важеля гвинтом утримується правий петельник.

Третє
плече важеля шарнірно зв'язане із з'єднувальними ланками, які також з'єднані з
державкою. Державка прокачується на вісі, що закріплена у корпусі машини. В
державці гвинтом кріпиться лівий петельник. На державці гвинтом кріпиться
ниткоподавач нитки правого петельника.
На
третьому плечі важеля гвинтом встановлений ниткоподавач нитки лівого
петельника.
Кінематична
схема механізму руху петельника по складній просторовій
траєкторії
Механізм петельника являє собою просторовий шарнірний п'ятиланковик. Ведуча ланка - кривошип з пальцем, не паралельним вісі обертання валу. На пальці кривошипа розміщена ланка, яка через вісь, що встановлена перпендикулярно до вісі пальця, з'єднується з вилкою. У вилку закріплюється шатун і кріпиться стягуючим гвинтом. Шатун з'єднується з коромислом через шаровий шарнір. У верхню вісь коромисла вставлений шарнірний гвинт, який кріпиться у ексцентрикову втулку. Втулка гвинтом закріплена у корпусі машини. На передній частині шатуна закріплений гвинтом петельник.
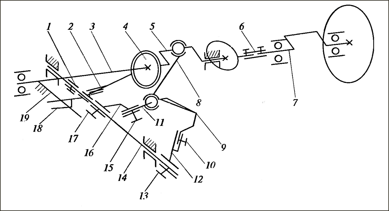
Кінематична
схема механізму петельника машин двониткового ланцюгового
стібка
Механізм петельника складається з вузлів бокового
відхилення і поздовжнього відхилення петельника (рис.3).
Одна частина головного валу 7 з'єднується з другою
частиною З через муфту 6. Вал 3 має коліно 5 вузла бокових відхилень петельника,
на якому розміщена головка шатуна 8. Шатун 8 через нижній отвір кріпиться на
шаровому пальці 11, що вставлений у йоводок 16, і закріплений гвинтом 15.
Поводок 16 гвинтом 17 встановлюється на валу 14. На передньому кінці валу 14
гвинтом 13 кріпиться державка 12 петельника. В державці 12 гвинтом 10
закріплений стержень петельника 9.
Обертання коліна 5 валу 3 машини перетворюється вузлом
бокових відхилень в поперечині відхилення державка 12 разом з петельником
9.
Вузол поздовжнього переміщення петельника 9 включає в
себе ексцентрик 4, що встановлений на головному валу, шатун 2, поводок 18, що
кріпиться на валу 14. Поводок 18 обмежений від зміщення установочним кільцем 1 і
боковим виступом-вилкою кріпиться на ролику, який знаходиться на вісі
19.
Обертання ексцентрика 4 вала 3 машини перетворюється
вузлом поздовжніх переміщень у рухи петельника 9 за напрямком транспортування
матеріалу. Поздовжні і поперечні відхилення петельника 9 формують еліпсоподібну
траєкторію руху, що дозволяє йому при захопленні петлі голки проходити за лезом
голки, а при виносі нитки для захоплення голкою - перед
голкою.

Рис. 3 Механізм петельника машин двониткового ланцюгового стібка
1
-
установочне кільце
2
-
шатун
3
-
частина головного валу
4
-
ексцентрик
5
-
коліно вузла бокових відхилень петельника
6
-
муфта
7
-
частина головного валу
8
-
шатун
9
-
петельник 10-гвинт
11
- шаровий палець 12-державка
13-
гвинт
14-
вал
15-
гвинт 16-поводок
17-
гвинт
18
-
поводок
19-
вісь

Рис. 4 Механізм руху петельника по складній просторовій траекторії (машини потайного стібка)